一、適用范圍
申報省自然科學基金和公益技術研究計劃項目的個人和單位。
適用對象:單位、個人
二、事項審查類型
前審后批
三、辦理依據
(一)《中華人民共和國科學技術進步法》第十九條:“國家遵循科學技術活動服務國家目標與鼓勵自由探索相結合的原則,超前部署和發展基礎研究、前沿技術研究和社會公益性技術研究,支持基礎研究、前沿技術研究和社會公益性技術研究持續、穩定發展。”
(二)《中華人民共和國科學技術進步法》第六十條:“財政性科學技術資金應當主要用于下列事項的投入:(二)基礎研究;(三)對經濟建設和社會發展具有戰略性、基礎性、前瞻性作用的前沿技術研究、社會公益性技術研究和重大共性關鍵技術研究;……對利用財政性資金設立的科學技術研究開發機構,國家在經費、實驗手段等方面給予支持。”
(三)《浙江省科技進步條例》第四十七條:“財政性科學技術資金應當用于下列事項:(二)支持社會公益性技術研究、科學技術基礎研究和軟科學研究。第四十八條 省人民政府設立自然科學基金,重點支持基礎研究和應用基礎研究項目,培養科學技術人才。在自然科學基金中設立杰出青年科學基金項目,專項用于資助優秀青年科學技術人員的科學研究。”
(四)《深化省級財政科技計劃(專項、基金)管理改革方案》(浙科發計〔2016〕144號):“圍繞知識創新、技術創新、轉化應用、環境建設4個創新鏈環節,優化省級財政科技資金配置,設立基礎公益研究(含省自然科學基金)、重點研發、技術創新引導、創新基地和人才4類省級科技計劃(專項、基金)。”
四、受理機構
浙江省科學技術廳(浙江省自然科學基金委員會)
五、決定機構
浙江省科學技術廳(浙江省自然科學基金委員會)
六、數量限制
有數量限制,為競爭性申報,以當年度申報通知為準。
七、申請條件
(一)申報單位應當是本省行政區域內的高等學校、科研院所等具有獨立法人資格的公益性機構,并按相關管理規定已注冊為省自然科學基金的依托單位。
(二)申請人應當是正式受聘于省自然科學基金依托單位的在編在崗科學技術人員,且在項目執行期間每年在依托單位工作時間應不少于六個月。省自然科學基金辦根據相關管理規定在每年的申請通告中發布各類項目的具體申請資格。
(三)申請項目應提出明確的研究目標、創新的學術思想、合理的研究方案,申請人和項目組應具有較好的研究工作基礎和研究條件。
(四)項目實施后,項目績效目標中可量化考核的知識創新、人才培養或技術、社會效益指標提升明顯。
(五)申報單位和項目負責人以往科研項目實施執行情況、驗收結題、配套資金落實、經費管理、科研誠信、知識產權保護和接受監督檢查方面情況良好。
八、禁止性要求
無
九、申請材料目錄
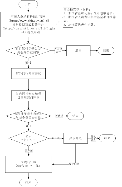
通過浙江科技創新云服務平臺提交申請材料并辦理,無需提交紙質材料。
(一)浙江省基礎公益研究計劃申請書。
(二)浙江省杰出青年科學基金項目推薦表。
(三)3-5篇代表性論著。
十、申請接收
辦公地址:杭州市文一路115號實驗樓8樓
辦公信箱:zjnsf@zjnsf.gov.cn
聯系電話:0571-88212789、0571-85214970
傳真:0571-88935710
十一、辦理基本流程
申請—受理—評審—審查—決定
十二、辦理方式
網上辦理
十三、辦結時限
120個工作日
十四、收費依據及標準
不收費
十五、辦理結果
資助項目批準通知書
十六、結果送達
自作出決定之日起十五日內送達
送達方式:快遞送達
十七、行政相對人權利和義務
(一)行政機關應當告知申請人事項辦理結果。
(二)申請人應當對其申請材料實質內容的真實性負責。
十八、咨詢途徑
電話咨詢:0571-88212789、0571-85214970、0571-85214237
十九、監督投訴渠道
監督投訴電話:0571-87056409或“12345投訴熱線”
二十、辦公地址和時間
辦公地址:杭州市文一路115號實驗樓8樓
辦公時間:夏季:星期一至星期五上午8:30-12:00,下午14:30-18:00;其他季節:星期一至星期五上午8:30-12:00,下午14:00-17:30(法定節假日除外)
二十一、辦理進程和結果公開查詢
電話查詢:0571-88212789、0571-85214970、0571-85214237
網上查詢:浙江省科技創新云服務平臺 http://www.zjsti.gov.cn,浙江政務服務網 http://www.zjzwfw.gov.cn
附錄1 流程圖
業務經辦流程圖(內部流程圖)

辦事流程圖(外部流程圖)

附錄 常見問題解答
一、省自然科學基金的經費來源:
自然科學基金主要來源于省財政撥款,鼓勵自然人、法人或者其他組織通過與自然科學基金聯合資助、向自然科學基金捐資等方式資助基礎研究工作。
二、省自然科學基金的資助范圍:
省自然科學基金主要資助自然科學、工程科學和管理科學等領域中的基礎研究、應用基礎研究、戰略性前沿技術研究以及學術交流等基礎性工作。
[責任編輯:郜利敏]